Altana Tubes > Válvulas Pentodos > Com Triodos > Potência > ECL82

Válvulas pentodo-triodo ECL82 PCL82 UCL82 XCL82 LCL82 e equivalentes, histórico e características

Válvulas pentodo-triodo ECL82 PCL82 UCL82 XCL82 LCL82 e equivalentes, histórico e características - Válvula ECL82/6BM8 Telam
















 1  

Histórico da válvula ECL82

Lançada em 1956, a válvula ECL82 é um pentodo de potência combinado com um triodo pré-amplificador. O triodo da válvula ECL82 pode ser usado como pré-amplificador de áudio ou como oscilador. A seção pentodo serve tanto como saída de áudio como amplificador de varredura vertical para televisores. Já na década de 1960 foi tentada uma substituição da válvula ECL82 por um modelo mais moderno, especificamente desenhada para áudio e batizada como ECL86. No entanto o custo baixo da válvula ECL82 aliada a grande variedade de filamentos disponíveis condenaram a ECL86 a aplicações muito restritas.

Para atender o mercado de rádios de baixo custo, foi lançada a válvula UCL82, que é uma versão da válvula ECL82 com filamento de 50V. O objetivo de se dotar a válvula UCL82 com um filamento para 50V é permitir a ligação em série dos filamentos de todas as válvulas do receptor, dispensando o uso de um transformador de força para os filamentos. A alta tensão para o circuito de placa da válvula UCL82 pode ser obtido diretamente da retificação da rede elétrica. Este tipo de circuito é chamado de "rabo quente" por carecer de um transformador de força que isole o circuito eletrônico da tensão da rede.

Em circuitos de rádio e pequenos amplificadores de baixo custo, a válvula UCL82 foi uma solução muito popular na década de 1960. Já em circuitos de televisão tanto colorida quanto preto e branco, a escolha tendia para a válvula PCL82 ou XCL82 com filamentos para 16V e 8V respectivamente. Com um número maior de válvulas no circuito, é necessário reduzir a tensão em cada filamento para que mais peças possam ser ligadas em série.

A válvula LCL82 surgiu para preenche a lacuna nas tensões de filamento deixada entre a válvula XCL82 e a válvula PCL82. Televisores usando a válvula LCL82 são pouco comuns, sendo que a esmagadora maioria usa a PCL82, seguida pala válvula ECL82 e, já bem menos comum, a válvula LCL82

Filamentos

Várias versões da válvula ECL82 foram produzidas com tensões de filamento diferentes, possibilitando a conexão em série dos mesmos. As válvulas LCL82, PCL82, UCL82 e XCL82 têm todas as demais caracteristicas idênticas à válvula ECL82

Código Europeu ECL82 LCL82 PCL82 UCL82 XCL82
Código Americano 6BM8 11BM8 16A8 50BM8 8B8
Tensão de filamento (V) 6,3 10,7 16,0 50,0 8,2
Corrente de filamento (mA) 780 450 300 100 600

Base

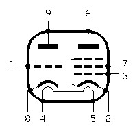
Todas as válvulas da família ECL82 utilizam soquete miniatura de 9 pinos e seguem o seguinte diagrama de conexão:

Base da válvula ECL82

Capacitâncias inter-eletródicas

Triodo

Entrada (Cg(a)) 4,3pF
Saída (Ca(g)) 2,7pF
Grade-placa (Cag) 4,4pF

Pentodo

Entrada (Cg(a)) 8,0pF
Saída (Ca(g)) 9,3pF
Grade-placa (Cag) 0,3pF

Máximos absolutos

Os valores máximos absolutos da válvula ECL82 não devem ser ultrapassados em nenhuma situação. Eles se aplicam a qualquer uma das válvulas da família ECL82. Estes valores já contemplam margem de segurança, portanto a válvula ECL82 pode trabalhar confortavelmente em uma situação em que estes valores tenham sido usados como parâmetros de projeto.

Máximos do pentodo

Tensão de alimentação da placa (Va) 300V
Tensão de placa com a válvula fria (Va0) 550V
Tensão de pico na placa (Vap) +2500V* -500V
Dissipação de placa 7W em áudio
5W outras aplicações
Tensão de grade auxiliar (Vg2) 300V
Tensão de grade auxiliar com a válvula fria (Vg20) 550V
Dissipação de grade auxiliar (Wg2) 2W (3,2W de pico*)
Corrente de catodo (Ik) 50mA
Resistor máximo da grade de controle 1MΩ bias fixo
2MΩ bias automático
Tensão entre o catodo e o filamento (Vkf) 150V

* A situação de pico deve durar no máximo 800us e corresponder a menos de 4% do ciclo

Máximos do triodo

Tensão de alimentação da placa (Va) 300V
Tensão de placa com a válvula fria (Va0) 550V
Tensão de pico na placa (Vap) 600V
Dissipação de placa 1W
Corrente de catodo (Ik) 15mA (100mA pico)
Resistor máximo da grade de controle 1MΩ bias fixo
3MΩ bias automático
Impedância mázima de grade (Zg) 500kΩ
Tensão entre o catodo e o filamento (Vkf) 100V

Características típicas da válvula ECL82

Triodo

A seção triodo da válvula ELC82, e demais tipos da família, pode ser usado sem maiores cuidados com relação a ruído hum e microfonia se o sinal de entrada for superior a 10mV RMS para uma saída da ordem de 50mW no estágio de saída do amplificador.

Tensão de placa (Va) 100V
Tensão de grade (Vg) 0V
Corrente de placa (Ia) 3,5mA
Transcondutância (S) 2,2mA/V
Fator de amplificação (μ) 70

Pentodo

Tensão de placa (Va) 170V
Tensão na grade auxiliar (Vg2) 170V
Tensão na grade de controle (Vg1) -11,5V
Corrente de placa (Ia) 41mA
Corrente na grade auxiliar (Ig2) 9,0mA
Transcondutância (S) 7,5mA/V
Fator de amplificação como triodo (μg1g2) 9,5
Resistência interna (Ri) 16kΩ

Modos de operação do triodo ECL82

O triodo da válvula ECL82 pode operar no circuito abaixo com os valores dos componentes tomados da tabela, ou calculados com o programa disponível logo a seguir. Os dados da tabela foram obtidos das fichas técnicas consultadas e os valores podem divergir dos apresentados pelo programa calculador.

Circuito recomendado para o triodo da válvula ECL82

B+ (V) 230 230 200 200 170 170 100 100 200 200 170 170 100 100
Rg (MΩ) 1 a 3 1 a 3 1 a 3 1 a 3 1 a 3 1 a 3 1 a 3 1 a 3 22 22 22 22 22 22
Rk (kΩ) 0,680 4,7 1,5 2,2 1,8 2,7 1,8 2,7 0 0 0 0 0 0
Ra (kΩ) 100 470 100 220 100 220 100 220 100 220 100 220 100 220
Rg' (kΩ) 470 470 680 680 680 680 680 680 680 680 680 680 680 680
Ca (nF) 22 22 100 100 100 100 100 100 100 100 100 100 100 100
Ck (μF) 120 68 100 100 100 100 100 100 100 100 100 100 100 100
Ia (mA) 1,23 0,28 0,84 0,52 0,67 0,43 0,38 0,23 1,05 0,61 0,86 0,50 0,37 0,22
Ganho 47 48 47 52 46 51 42 47 50 55 49 53 42 46
Vs (V) 25 24 30 26 25 25 11 15 24 25 19 20 8 9
THD* (%) 3 1,5 2,3 1,6 2,8 2,3 2,8 4,0 1,5 1,4 1,4 1,4 1,3 1,5

* Medido para uma saida de 5V. Para saidas menores a distroção é proporcionalmente menor. Para sinais de maior amplitude, use o calculador.

Calculador para o amplificador tríodo

Valores dos resistores

Para iniciar o projeto de um amplificador com um triodo, cabe ao autor definir o ponto de operação. Isso é feito pela escolha adequada da tensão de alimentação (B+), do resistor de placa (Ra), do resistor de catodo (Rk) e do resistor da grade de controle do estágio seguinte (Rg´). Uma vez escolhidos estes valores, são feitos cálculos para avaliar a qualidade ou limitações do amplificador triodo.



   



Ponto Quiescente

O ponto quiescente representa o estado basal de operação do triodo. Quando nenhum sinal é injetado, o triodo permanece nele.

Tensão de placa (Va) 0V
Tensão de catodo (Vk) 0V
Corrente de placa (Ia) 0mA
Máximo sinal de entrada (RMS) 0V
Capacitor de catodo* (Ck) 0uF
Capacitor de acoplamento* (Ca) 0nF

* Valor mínimo para uma frequência de conte de 10Hz.

Análise harmônica

A parte mais importante no projeto de um amplificador triodo é a análise harmônica. É nela que se aceita ou rejeita um ponto de operação. Em uma situação normal de operação, o triodo irá produzir distorção harmônica principalmente nas componentes pares. As componentes ímpares produzem um efeito desagradável e devem ser evitadas. É normal que em algumas situações a distorção por harmônicas pares comece a cair, havendo elevação das harmônicas ímpares. Quando isso ocorre, a operação do triodo nesta região deve ser evitada.

Em projetos de amplificadores de áudio de alta fidelidade, busca-se encontrar pontos de operação com a menor distorção possível. Já em projetos para amplificadores de guitarra, níveis altos de distorção harmônica são benvindos, no entanto as componentes ímpares devem ser mínimas ou será produzido um som rachado e desagradável.

Análise harmônica

Entrada (V RMS) 0 0 0 0 0 0 0 0 0 0
Saída (V RMS) 0 0 0 0 0 0 0 0 0 0
Ganho 0 0 0 0 0 0 0 0 0 0
Distorção 2h (%) 0 0 0 0 0 0 0 0 0 0
Distorção 3h (%) 0 0 0 0 0 0 0 0 0 0
Distorção 4h (%) 0 0 0 0 0 0 0 0 0 0
Distorção 5h (%) 0 0 0 0 0 0 0 0 0 0
Distorção 6h (%) 0 0 0 0 0 0 0 0 0 0
Distorção Total (%) 0 0 0 0 0 0 0 0 0 0

Modos de operação do pentodo ECL82

Operação em classe A Single End (SE)

Nos pontos em que se omite o resistor de catodo, a polarização da válvula ECL82 é feita por tensão negativa fixa aplicada à grade de controle do pentodo

B+ de placa (Vba) 100V 170V 170V 200V 200V 200V 230V 272V
B+ de G2 (Vbg2) 100V 170V 170V 170V 200V 200V 230V 272V
Resistor de G2 (Rg2) 0 0 0 0 0 470Ω 1k2Ω 2k2Ω
Resistor de catodo (Rk) - 200Ω - - - 330Ω 490Ω 650Ω
Carga (Ra~) 3k9Ω 3k3Ω 3k9Ω 5k6Ω 5k6Ω 4k5Ω 6kΩ 8kΩ
Bias (Vg1) -6,0V - -11,5V -12,5V -16,0V - - -
Sinal em G1 (Vi) 3,8V 5,9V 6,0V 5,8V 6,6V 6,7V 7,8V 9,5V
Corrente de placa (Ia) 26mA 44mA 41mA 35mA 35mA 37mA 31mA 27mA
Corrente em G2 (Ig2) 5,0mA 15,5mA 8,0mA 6,5mA 7mA 13,3mA 11,0mA 10,8mA
Potência de saída (Wo) 1,05W 3,2W 3,3W 3,4W 3,5W 3,3W 3,3W 3,5W
Distorção (THD) 10% 10% 10% 10% 10% 10% 10% 10%

Operação em push-pull (2 válvulas)

B+ de placa (Vba) 100V 100V 170V 170V 200V 200V 230V 250V
B+ de G2 (Vbg2) 100V 100V 170V 170V 200V 200V 200V 200V
Resistor de catodo (Rk) 135Ω 140Ω 125Ω 135Ω 165Ω 170Ω 200Ω 220Ω
Carga (Raa~) 5kΩ 4k5Ω 4k5Ω 5kΩ 5kΩ 4k5Ω 7kΩ 10kΩ
Bias (Vg1) - - - - - - - -
Sinal em G1 máx. Ef (Vg1) 4,9V 5,4V 9,2V 9,0V 10,9V 14,2V 13,0V 12,5V
Corrente de placa em repouso (Ia0) 2x19,0mA 2x19,0mA 2x35,0Ma 2x33,0Ma 2x35,0Ma 2x35,0Ma 2x30,0mA 2x28,0mA
Corrente de placa máxima (Ia) 2x20,0mA 2x22,0mA 2x39,5Ma 2x37,0Ma 2x38,0Ma 2x42,5Ma 2x34,5mA 2x31,0mA
Corrente em G2 em repouso (Ig20) 2x3,6mA 2x4,4mA 2x8,5mA 2x6,2mA 2x6,5mA 2x8mA 2x6,2mA 2x5,8mA
Corrente em G2 máxima (Ig2) 2x6,8mA 2x7,0mA 2x13,0mA 2x15,0mA 2x16,5mA 2x16,5mA 2x13,5mA 2x13mA
Potência de saída (Wo) 2,2W 2,0W 7,0W 7,0W 9,0W 9,3W 10W 10,5W
Distorção (THD) 2,5% 3,1% 3,6% 4,0% 4,8% 6,3% 5,5% 4,8%
Classe AB AB AB AB AB AB AB AB